VIVOTEK

Your safety shouldn’t be one-size-fits-all. That’s why Securis offers scalable pricing plans designed for every space.

Advanced AI Camera for Smart Surveillance

VIVOTEK is a leading CCTV brand from Taiwan, globally trusted for its outstanding image quality, high durability, and advanced technology tailored for modern security needs. Designed for both indoor and outdoor use, VIVOTEK cameras feature smart capabilities that enhance image detection and analysis with precision and reliability.

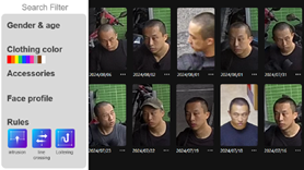
Facial Recognition

FD9387-FR-V2

5MP Facial Recognition Network Camera

  • Event Integration with VSS and 3rd parties
  • Cyber Protection via Trend Micro IoT Security
  • WDR Pro for Unparalleled Visibility
  • Supreme Night Visibility for Low Light Scene
  • Weather-proof IP66/IP67, Vandal-proof IK10

Thermal Imaging

Camera for All-Weather Threat Detection

-20°C to 150°C 

(-4°F to 302°F)

  • Threshold alarm
  • Temperature difference alarm
  • Rising Temperature rise alarm
  • Sectional Temperature alarm
Point, Line, Area to meet different targets. (Up to 20 rules)

LICENSE PLATE RECOGNITION

IB9387-LPR-V3 (7-22 mm) (V)

NVR for Smart and Scalable Security

Network Video Recorder

Embedded NVR & Recording Server

Embrdded NVR

Simple to Navigate but Versatile

Cloud Ready with VORTEX

VORTEX Connect offers powerful cloud management for V-series Embedded NVR. Monitor and control your cameras from anywhere, anytime, ensuring constant access

Simplify Your Operations

ㆍ Multi-display
ㆍ Fisheye dewrap in local and web client
ㆍ Embedded PoE

CMS Ready with VAST Security Station

Grow easily by adding cameras as your business expands. Keep data safe by storing and managing it on-site, reducing internet risks.

Secure Connection & Reliable Compliance

No more plugins, Chrome browser supported, NDAA compliant and have cyber protection via Trend Micro

Core+ Al

VIVOTEK Core+ AI supporting Deep Search and Smart VCA, offering a faster and smarter user experience.

Recording Server

Super and Outstanding Performance Video Recorder for Large Scale Systems

Hot-Swappable HDD

Supports hot-swappable HDD bays with RAID 0/1/5/6/10/50/60, and substaion failover failover for reliable and secure recording data.

Deep Search with VSS Pro

With VIVOTEK VAST Security Station Professional edition to support Deep Search, quickly locating people and vehicles within recorded footage using attributes, trajectories, and even similar appearances.

Built-in License with VSS Pro

Built in license with VIVOTEK VAST Security Station Professional edition. Ready-to-go functionality with essential features, including 3rd Party Integration, Matrix and failover for substation.

Reliable Surveillance with Failover

Experience a secure and stable monitoring atmosphere with the Supreme series, featuring failover for continuous operation.

Vast Security Station

VIVOTEK Video Management Software

VAST Security Station (VSS) is a video management software with an intuitive, user-friendly interface designed to help customers efficiently set up and manage projacts. Its centralized management supports easy scalability, from single shops to multi-site deployments, while seamlessly integrating with VIVOTEK’s wide range of network devices, such as cameras, NVRs, PoE switches, and IP audio systems, to meet various surveillance needs.

Ease of use

Feature-rich through minimal installation

Automate Your Operation

Find footage in seconds with Deep Search

Seamlessly Integrate with VIVOTEK Device

Adaptable for expansion and centralized

Optimal choice for VIVOTEK devices

Cloud Surveillance Platform

A hybrid architecture and intuitive platform enable seamless integration, allowing teams of any deploy VORTEX across multi-site environments with ease.

Scalability and Flexibility
ㆍ Lower upfront costs
ㆍNo need to worry about infrastructure cha
Cybersecurity and Data Privacy
ㆍ Data protection measures
ㆍ Role-based access control
Accessibility
ㆍ Access anywhere, anytime, any device
ㆍUser-friendly Interface for Swift Adaptation
ㆍ Native Support for Mobile and Desktop Browser
Open API & Integrations
ㆍRTSP supported
ㆍWebhook supported
ㆍ Access control integration
Quick Deployment & Maintenance-free
ㆍEasily add with QR code
ㆍ Manage and configure devices in one platform
ㆍ OTA firmware upgrade
ㆍ Remote troubleshooting
Easily Add with QR code
ㆍ Edge Al and deep search for quick investigation
・ Human/vehicle identification and path deteted
ㆍ Real-time alerts for immediate actions

Integration with Access Control

Bridge Existing Cameras with Embedded NVR and VORTEX Connect
ㆍ No network camera replacement
ㆍ No impact on infrastructure
ㆍ ONVIF Profle supported by V-series Embedded NVR
ㆍ Power delivery through NVR PoE ports, no network switch required
ㆍ Expandable and redundant recording with cloud
Flexible Scaling with Direct-to-cloud VORTEX Cameras
ㆍ Scale with one camera as a unit, no NVR required
ㆍ Scan-and-connect with QR code; zero configuration
ㆍ Expandable and redundant recording with cloud

Product Categories